
Every year, manufacturers of photovoltaic (PV) modules attempt to create more efficient solar panels using new technological solutions and new materials. Although in recent years they have succeeded in increasing the performance of PV systems, there is an even easier way to improve their efficiency.
For example, Aimtec’s DC-DC AM10/15/40/45/200-NZ converters provide an exceptionally wide range of input voltage (from 200 V DC to 1500 V DC). Their efficiency is 1.5-2 percentage points higher compared to the 1000 V DC converters currently available on the market.
Furthermore, with DC-DC converters from Aimtec, you can construct a simple, low-cost and smaller system of the main electrical components
involved in the process of solar energy harvesting. This is possible thanks to the innovative design and seamless integration with the wide range of Aimtec products. These solutions are beneficial to manufacturers because they reduce time needed to market the product, lower the costs, and at the
same time increase the efficiency of the entire system.

In 2015, following the UN Climate Change Conference held in Paris, an agreement was signed to reduce the global emission of greenhouse gas (GHG). It has had a positive impact on the development of ecological renewable energy sources, such as photovoltaic panels and wind energy, as well as increased their popularity. Strong public support for green renewable energy solutions, lowered production costs and modern performance-boosting technologies are factors that should heighten the demand for PV and wind energy systems.
The use of new converters improves efficiency. Currently, PV systems are designed on the basis of a model using the input voltage of 1000 V DC, which is 33% lower than the 1500 V DC supported by new solutions from Aimtec. According to GTM’s calculations, higher voltage systems will increase the efficiency by 1.5-2 percentage points. In light of these findings, the situation has become clear: the next step in the development of photovoltaic installations must be to replace the internal components of the devices in these highly advanced systems.
AM10/15/40-800xxS-NZ series of DC-DC converters
The AM10/15/40-800xxS-NZ series of DC-DC converters is a unique solution on the market offered by just a few suppliers. They provide an input voltage range from 200 to 1500 V DC, 4000 V AC isolation and built-in multi-dimensional protection functions that can be useful for various photovoltaic systems and other applications which require a stable and reliable power supply (e.g. wind turbines).
Why do Aimtec’s AM10/15/40-80024s-NZ converters offer a completely new quality?
This is what makes the Aimtec DC-DC series stand out from the crowd:

This innovative DC-DC converter allows a power module in a solar array to receive an output voltage higher than 1000 V. This is crucial, because the output voltage varies depending on the intensity of sunlight. If the output voltage is too high for a long period of time, this can lead to instability of the operating voltage, cable problems and short-circuits, which in turn can cause a failure of the entire system.
align=”justify”>The DC-DC converter scheme is based on the flyback topology thanks to the advanced and reliable PWM control system. It also uses two high voltage transistors connected in a series, as well as a power isolation. The high voltage starter is built with Aimtec’s patented starter technology and has a number of built-in protections.

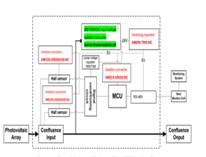
Simple application of the AM10/15/40-800xxS-NZ DC-DC converter in a PV system

In this typical solar panel monitor unit, the wide range of DC-DC converter input voltage and 4000 V AC isolation simplifies the conversion of power from the photovoltaic array into the 24 V DC voltage required by the monitor unit. The AM1DS-0505SH30-NZ DC-DC converter supplies the Hall sensor with power and isolates the high voltage from the low voltage. The AM2LS-0503S-NZ converter provides 3.3 V isolated voltage to the microcontroller. Finally, the RS-485 transmitter-receiver provides isolated serial transmission and power supply, which reduces electromagnetic interference and prevents interference resulting from the earth loop. This solution is functional and also guarantees the highest level of safety.
2. Power supply for the inverter monitor unit in a PV systemThe junction box collects the current from the photovoltaic panel array, which then passes through the DC electrical cabinet and is converted into AC in the inverter. This process must be monitored to ensure that the voltage meets the requirements. In the diagram we can see that the AM10/15/40W-800-NZ receives the current from the high voltage bus and reduces the voltage to 24 V DC. Then the AMSRI-7805-NZ and AMSRI-7815-NZ transmitters deliver the correct voltage to the next system with very high efficiency. The AM2LS-0503S-NZ transmitter delivers isolated DC current to the microcontroller.

The new Aimtec AM10/15/40-800xxS-NZ series converters offer the widest input voltage range available on the market: from 200 V DC to 1500 V DC. They are complemented by a broad range of products that can increase the efficiency of PV systems by 2 percentage points. What is more, best-in-class protections guarantee safe and reliable operation. Aimtec’s solution for PV systems delivers huge benefits to customers by simplifying their design, reducing costs and improving the overall system performance. For more information on the products presented, please visit the website of TME, an authorized distributor of the Aimtec brand.
Be the first to know about new products and promotions.